1 2 3

服务项目

商标自助查询

当前位置 -> 首页 -> 知产资讯

知产资讯

市监局科长被举报利用职务之便非法囤积(抢注)商标
录入人:正道商标    发布时间:2024-04-30 01:04:00

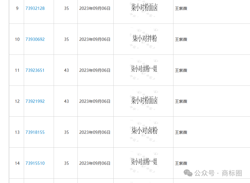
近日,柒小对卤粉拌面创始人王紫薇实名举报湖北宜昌市市场监督管理局商标和地理标志科科长覃某君非法囤积商标获利,该事件在网络上迅速发酵,引发关注。

2024428日,柒小对卤粉拌面创始人紫薇在网络上实名举报覃某,称覃某假借母亲熊明清名义非法囤积百余个商标,并包含宜昌多地地名商标。紫薇表示自己已注册商标七小对柒小?,曾因经营需要向覃某母亲求购七对商标权,但因对方坚持高额报价,多次求购商标未果,反被其恶意打击报复。市委市政府高度重视,迅速成立联合调查组,启动调查程序。

429日,宜昌市纪委监委发布通报称,网络出现该市市场监督管理局干部覃某涉嫌非法囤积商标获利的举报信息后,市委、市政府高度重视,市纪委监委迅速成立调查专班,启动调查程序,市场监督管理局已对覃某作出停职接受调查的决定。

根据王紫薇的举报内容大致分为以下几点:

1.该科长利用其79岁母亲名义非法囤积100多商标以获利。

2.“柒小对品牌因经营需要向其母亲求购商标,但因报价过高未果,被科长打击报复,频频发起对企业的恶意投诉和攻击,导致品牌多家加盟店被迫终止经营,损失上百万元。

3.王紫薇对七对商标提出撤三,熊明清向商标局提供的使用证据照片上皆为自己一家人,证据中枝江七对餐厅,20192021年这三年,均属于无证经营。

4.覃某作为科长,联合下级单位,为其提供证据造假,给商标局的审核工作造成严重误导。

事件发酵后,就有媒体联系了宜昌市市监局直属的纪委单位,工作人员回应称:我们需要跟领导汇报,将对此事进行核实。

对网络举报的内容,市纪委监委将根据调查情况,依规依纪依法严肃处理,坚决维护当事人法权益,全力营造良好的营商环境。

上一条: 一款产品到底是登记版权,还是保护外观专利?
下一条: 字体也有版权!如何避免字体侵权?

版权所有:南京正道商标事务所有限公司 COPYRIGHT 2014 苏ICP备11042440号

地址: 江苏省南京市珠江路600号谷阳世纪大厦709室    24小时服务热线:025-84480100  技术支持:夏恒网络