1 2 3

服务项目

商标自助查询

当前位置 -> 首页 -> 知产资讯

知产资讯

反复代理同一件商标,结果被处罚了!
录入人:正道商标    发布时间:2023-11-15 03:11:05

看到一个处罚,看过第一遍的时候,觉得怎么可以这样处罚,简直不可理喻,这不是给代理机构施加紧箍咒吗?

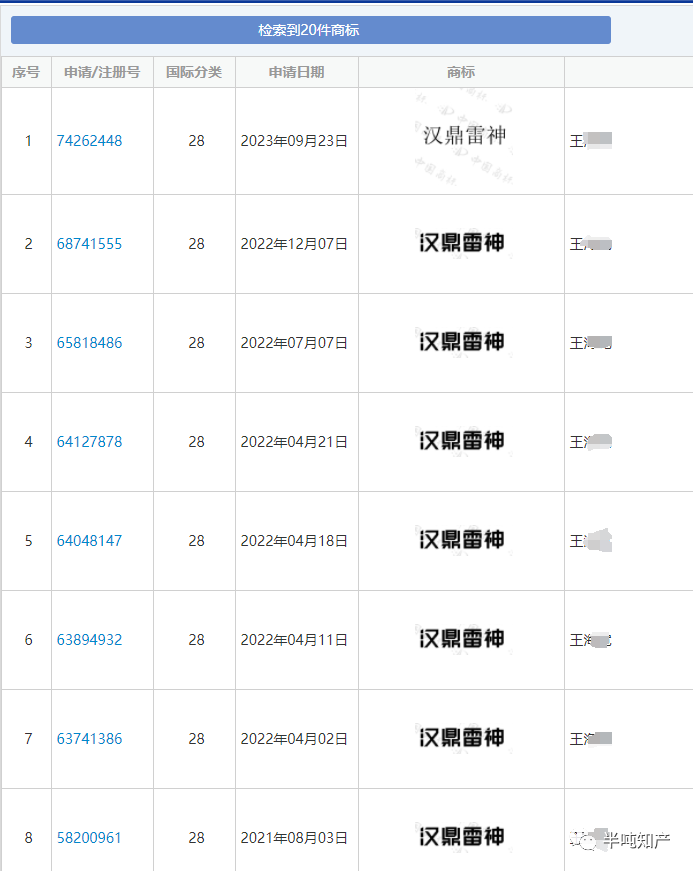
可仔细深究下去,发现事情没有那么简单,一起看下具体情况,说河北一家代理机构,代理了王某在第28类上共计20件“汉鼎雷神”,是的,你没看过,甚至商品项目都一样,其中有11件都初审公告。

这本来也没什么,申请人想要申请,代理机构代理,你情我愿的事情,不应该受到处罚,但是这11件初审通过的“汉鼎雷神”全部被提出异议。

经过商标局的审查,认为与第10509820号“汉鼎”商标、第23232835号“汉鼎HANDING”商标、第25305193号“汉鼎斗鱼”商标、第25312247号“汉鼎必胜”商标构成近似,商标不予注册。

可能是代理机构想出的一个馊主意,不停地反复申请注册,让异议方疲于应对,甚至处罚的前一个月2023年09月23日,该代理机构还在代理新申请,这就引起了相关部门的注意,直接来了个15000元的处罚,这次估计会消停。

其实,异议人刘某不用费这么大劲,这异议的时候,自己申请一个“汉鼎雷神”,程序一直走下去,扫清引证障碍,就可以了!

 这也引发另一个讨论,能不能修改一下制度,异议成功的商标,如果没有后续程序,商标自动转至异议人名下,会不会更好!

上一条: 商标注册这么简单,为什么还要委托代理公司?
下一条: 商标权与著作权冲突时,法律先保护谁?

版权所有:南京正道商标事务所有限公司 COPYRIGHT 2014 苏ICP备11042440号

地址: 江苏省南京市珠江路600号谷阳世纪大厦709室    24小时服务热线:025-84480100  技术支持:夏恒网络